苹果新专利揭示:Vision Pro或将支持模块化自定义 一项新曝光的苹果专利文件,揭示了Apple V
一项新曝光的苹果专利文件,揭示了Apple Vision Pro未来可能的发展方向:模块化设计。该专利显示,苹果正在探索让这款头戴式设备支持用户自行更换关键组件,例如电池、头带与显示模块,从而根据工作、娱乐等不同场景需求进行硬件配置调整。这标志着一种与传统“一体化”消费电子产品截然不同的产品思路。
免费影视、动漫、音乐、游戏、小说资源长期稳定更新! 👉 点此立即查看 👈

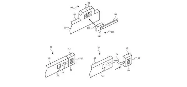
这份名为“可连接配件的头戴式设备”的专利,其核心理念在于解耦核心功能。专利描述指出,未来的Apple Vision Pro主机无需集成所有高级功能,而是作为一个基础框架存在。用户可以通过标准化的物理接口或磁吸连接,灵活地添加或更换各类认证配件,以实现功能的扩展与个性化定制。
这种设计思路类似于专业相机系统:一个机身可搭配不同镜头与附件。专利强调,该架构旨在让用户便捷地连接外部设备与功能模块,从而组合出差异化的硬件方案。此举有望显著提升设备的场景适应性与长期使用价值。

相关报道
专利文件通过具体用例,阐释了模块化设计的实用价值。例如,用户在室内进行专业创作或沉浸式观影时,需要极高分辨率的显示模块;而在移动办公或长途旅行场景下,大容量电池模块则成为优先需求。传统一体式设计难以同时优化这两项往往相互冲突的指标。
模块化架构则为此提供了解决方案。用户可根据当下核心需求,快速更换相应的显示或电池组件。当然,这类高性能模块大概率将作为官方配件单独销售,而非随机附赠。这意味着用户需要为额外的续航能力或显示精度支付额外费用。

一个关键悬念在于苹果将如何构建其配件生态。目前,Apple Vision Pro尚未推出类似MFi(Made for iPhone)的第三方配件认证计划。若苹果采取封闭策略,则可能仅限官方推出经过精密校准的专用模块,确保性能与体验的一致性。
无论生态开放与否,专利中展示的多种连接机制表明,苹果已在接口与机械结构上进行了深度研发。未来的Vision Pro很可能演变为一个核心计算框架,允许用户像组装高性能PC一样,自由搭配各类功能组件。这或许将引领头戴式设备从固定配置时代,进入个性化硬件定制的新阶段。
菜鸟下载发布此文仅为传递信息,不代表菜鸟下载认同其观点或证实其描述。