苹果正酝酿一款“可自定义”的Vision Pro,核心框架支持模块化拼装 一则来自供应链和专利
一则来自供应链和专利领域的消息,引起了科技圈的关注。4月8日,有外媒报道指出,苹果似乎并不满足于当前的一体化设计思路,其正在深入探索如何打造一款高度可自定义的Apple Vision Pro。未来的VR/AR头显,用户或许能像升级电脑一样,根据自己的具体需求,灵活更换电池、头显框架乃至更多核心组件。
免费影视、动漫、音乐、游戏、小说资源长期稳定更新! 👉 点此立即查看 👈

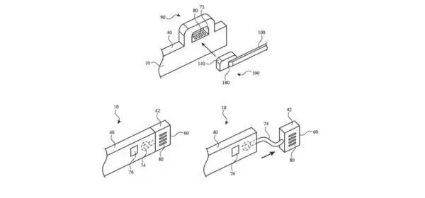
这份猜测并非空xue来风,其依据正来源于苹果最新获得的一项授权专利——“可连接配件的头戴式设备”。专利文件透露的核心思想非常明确:下一代Apple Vision Pro的主体部分,或许无需再集成用户未来可能需要的所有永久性功能。取而代之的,是一种更为灵活的思路:头戴式设备将作为一个基础平台,通过一个或多个配件接口来实现功能扩展与深度自定义。简单来说,用户能够在不同使用场景下,便捷地连接专用配件或外部设备,从而获得截然不同的组件与功能体验。
那么,这种模块化具体会如何实现呢?根据专利描述,未来的Apple Vision Pro很可能支持一种“按需定制、随时更换”的组件模式。专利中举了一个非常贴切的例子:同一位用户在不同场景下,需求会动态变化。比如,在家享受沉浸式影音或游戏时,用户自然会追求极致的高分辨率屏幕;而出门在外,移动办公或长途旅行中,设备的续航能力就成为了更优先的考量。模块化设计,正是为了无缝应对这种需求转换而生的。

相关报道
当然,商业世界的现实规则同样需要考量。外媒分析认为,苹果不太可能随机附赠一套低分辨率屏幕供用户替换以提升续航,这种“买一得二”的做法并不符合其产品策略。因此,所谓的组件更换,大概率会以付费配件的形态单独发售。这就引出了一个新问题:配件生态由谁主导?
目前,Apple Vision Pro尚未建立起类似“Made for iPhone”那样成熟的第三方配件认证体系。如果后续维持这一现状,那么苹果很可能选择亲自操刀,仅推出由自己设计的最新配件,从而构建一个类似iPad智能接口那样的封闭但高效的专属生态。无论如何,这都意味着配件将成为体验升级的关键一环。

无论最终配件生态是开放还是封闭,模块化设计的方向似乎已经清晰。这意味着未来的Apple Vision Pro,将从一个完全封装的设备,转变为一个以主体框架为核心、可外接各类功能组件的“平台”。专利文件中展示的多张设计图也印证了这一点,详细描绘了设备与主体框架之间多种可能的结构与电气连接方式。可以预见,一旦此构想落地,XR设备的个性化与专业化程度,将迈上一个全新的台阶。
菜鸟下载发布此文仅为传递信息,不代表菜鸟下载认同其观点或证实其描述。