您的位置 : 资讯 > 软件教程 > 2026年币安评测:Binance安全合法吗?如何在币安上交易加密货币?

2026年币安评测:Binance安全合法吗?如何在币安上交易加密货币?

来源:菜鸟下载 | 更新时间:2026-01-11

要点总结币安是全球最大的加密货币交易所,拥有超过 2 8 亿加密货币用户,支持超过 500 种加密货币和 1300 多个交易对。币安提供多种

要点总结

适合国内用的虚拟币交易所

  • 币安是全球最大的加密货币交易所,拥有超过 2.8 亿加密货币用户,支持超过 500 种加密货币和 1300 多个交易对。
  • 币安提供多种交易选择,包括现货交易、杠杆交易和期货交易,以及币安 NFT、币安 Earn 和币安 Launchpad 等高级功能。
  • 交易平台交易手续费低,挂单/吃单手续费仅为 0.1%,并为 BNB 持有者提供 25% 的折扣。
  • 币安全球平台在 180 个国家/地区可用,但在美国、英国、加拿大和荷兰等某些司法管辖区除外。

2026年币安评测:Binance安全合法吗?如何在币安上交易加密货币?

币安是什么交易所?

币安(官方注册 官方下载)是一家全球知名的加密货币交易所,以其丰富的服务和巨大的交易量而闻名。该平台由赵长鹏(CZ)和何毅于2017年联合创立,允许用户进行加密货币的交易、充值、提现、质押和兑换。据CoinMarketCap数据显示,币安拥有来自180多个国家和地区的超过2.8亿加密货币交易用户,日交易量高达650亿美元。

币安虽然最初在中国成立,但不久后便将总部迁至日本。此举是由于中国对加密货币业务的监管限制。随后,币安又将业务拓展至台湾,​​之后又迁至马耳他,寻求对加密货币交易所更为有利的监管环境。

2026年币安评测:Binance安全合法吗?如何在币安上交易加密货币?

该平台支持超过500种加密货币的交易,包括比特币BTC)、以太坊(ETH)和币安币(BNB)等热门加密货币资产。它支持超过30种法币,包括美元、欧元和澳元,用户可以通过借记卡或信用卡、银行转账和P2P支付轻松进行充值和交易。该平台以用户为中心,高度重视安全性和合规性。

币安交易所优势

  • 加密货币行业交易量和流动性最高
  • 交易手续费低,BNB持有者可享25%折扣
  • 高级交易功能,例如杠杆交易和跟单交易
  • 通过币安质押赚取被动收入,多种赚钱功能,适合新手和高级交易者
  • 提供多种加密货币和交易对,支持与 30 种法定货币直接交易
  • 采用 CCSS、冷wallet、双因素认证、端到端加密和用户安全资产基金 (SAFU) 实现强大的安全性
  • 为早期项目提供专属的IEO启动平台

币安交易所缺点

  • 某些国家/地区有限的法币退出机制
  • 部分国家/地区不提供此服务,包括美国、英国、加拿大、新加坡、日本、荷兰和尼日利亚。

币安交易所概览:一览

创立2017
创始人赵长鹏 (CZ) 和何一
交易特点
  • 现货交易
  • 保证金交易
  • 衍生品交易(期货和期权)
  • 跟单交易
  • P2P交易
  • 交易机器人
支持的资产500多种加密货币和1300多种交易对
原生令牌BNB(币安币)
支持的菲亚特支持 30 多种法定货币(美元、欧元、英镑等)
现货交易费用0.1% 制作者/接受者
期货交易费用0.02% 做市商和 0.05% 吃单者
安全功能双因素身份验证 (2FA)、冷存储、SAFU 基金、地址白名单、反钓鱼代码、端到端加密
移动应用币安应用程序适用于 iOS 和 Android 系统。
赚取产品质押、双重投资、加密货币贷款、挖矿
支付方式银行转账、信用卡/借记卡、P2P交易和第三方服务(例如PayPal、Apple Pay)
去中心化交易所是的
启动平台是的,对于新代币发行而言
客户支持全天候24小时在线聊天和电子邮件服务
 

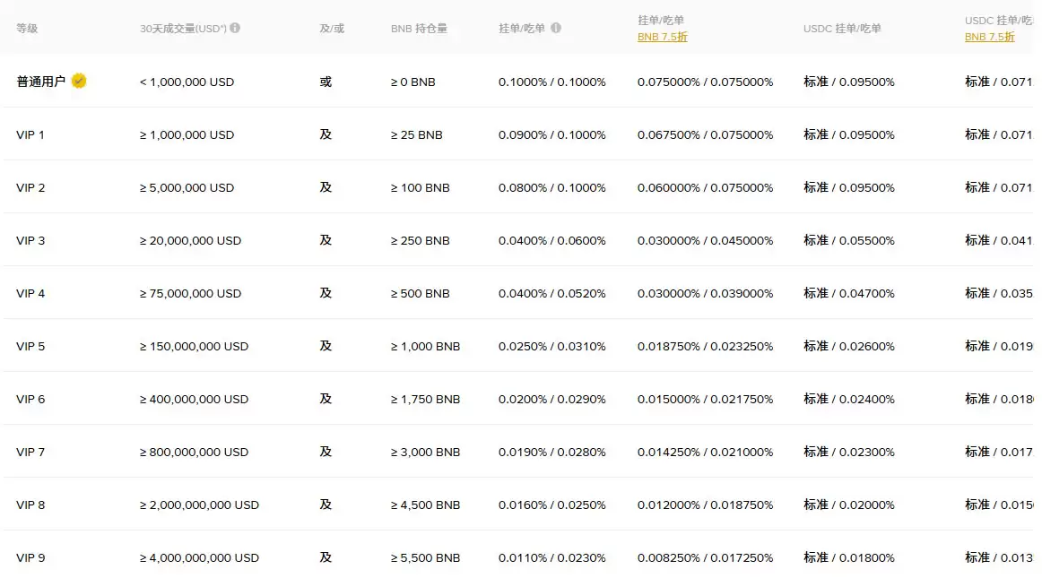
币安交易所手续费介绍

现货交易手续费

币安的现货交易手续费适用于以当前市场价格买卖加密货币的交易。这些手续费根据用户的VIP等级而有所不同,VIP等级由用户的30天交易量和币安币(BNB)余额决定。

现货交易的基本手续费为0.10%,适用于挂单方(提供流动性的人)和吃单方(接受流动性的人)。使用BNB支付手续费可享受较低折扣,通常约为25%。VIP等级越高,手续费越低。

以下是按VIP等级划分的现场费用明细:

2026年币安评测:Binance安全合法吗?如何在币安上交易加密货币?

期货交易费用

期货交易手续费通常低于现货交易手续费,并且根据用户的VIP等级分级收取。期货交易的基本手续费,挂单方为0.02%,吃单方为0.05%。与现货交易类似,VIP等级越高,手续费越低。

期权交易费用

币安期权交易的手续费通常按合约收取固定费用。目前,币安收取合约名义价值的0.024%作为固定费用,与其他中心化交易所相比具有竞争力。

2026年币安评测:Binance安全合法吗?如何在币安上交易加密货币?

存款和取款手续费

币安平台(>>>点我进入币安平台官网<<<),加密货币充值不收取交易手续费,但提现手续费会根据加密货币种类及其所在网络而有所不同。币安会根据网络拥堵情况和交易成本调整这些手续费。

例如,比特币 (BTC) 提现手续费通常为 0.00012 BTC,而以太坊 (ETH) 提现手续费通常为 0.0016 ETH。

以下是一些热门加密货币的提现手续费差异:

加密货币网络提款手续费
比特币(BTC)比特币0.00012 BTC
以太坊(ETH)ERC200.0016 ETH
泰达币 (USDT)ERC207 美元
币安币(BNB)BEP200.0006 BNB
瑞波币(XRPXRP0.2 XRP

查看完整的币安费用结构。

如果你还没有注册币安账户,可以通过下文的注册链接和APP下载地址,结合视频教程,自行注册。

币安官网注册:https://static.jbzj.com/qkl/ba/bafy.html(复制网址到浏览器打开)

币安安卓版APP下载:https://static.jbzj.com/qkl/ba/baxz.html

币安安全吗?币安安全吗?

币安目前是最安全的加密货币交易平台之一。尽管它也曾遭遇过一些数据泄露和黑客攻击,但该交易所仍在不断改进其安全措施和合规性。币安对所有交易都采用SSL加密,提供冷wallet存储,甚至还设立了10亿美元的保险基金来保障您的资产安全。

以下是币安为确保交易环境安全而采用的主要安全措施的详细介绍:

  • 双因素认证 (2FA):币安提供多种双因素认证选项,为您的账户增加一层额外的安全保障。选项包括 Google Authenticator、短信验证码 2FA 和币安自家的 Authenticator。这一额外的步骤确保即使有人知道您的密码,也无法在没有第二重验证的情况下访问您的账户。
  • 了解你的客户 (KYC):KYC 流程是一项强制性的身份验证程序。您需要提交政府签发的身份证明文件。这有助于币安验证用户身份,防止欺诈活动,并确保遵守全球法规。
  • 用户安全资产基金 (SAFU):为保护币安用户免受安全漏洞侵害,币安设立了用户安全资产基金 (SAFU)。该应急基金规模达 10 亿美元,如同一个财务安全网。若用户资金因安全漏洞而受损,SAFU 基金将用于补偿受影响用户。
  • 反钓鱼代码:此代码出现在所有官方电子邮件中,帮助币安用户轻松识别合法通信并避免钓鱼攻击。
  • 提现白名单:您可以设置一个可信地址白名单,用于加密货币提现。这意味着提现只能发送到预先批准的地址,从而降低未经授权交易的风险。
  • 高级风险控制与监控:该平台采用机器学习算法来检测异常登录模式和交易行为。这种实时监控有助于快速识别和缓解潜在威胁。
  • 人脸识别技术:币安采用可选的人脸识别技术,用于提现和密码更改等关键操作。这确保执行这些操作的人是合法的账户持有人,从而增加了一层额外的安全保障。
  • 漏洞赏金计划:币安鼓励外部安全专家通过其漏洞赏金计划识别并报告漏洞。参与者将因其贡献获得奖励,这有助于币安持续改进其安全措施。
  • 资产冷存储:币安的大部分加密货币资产都存储在离线的冷wallet中。由于这些wallet不连接互联网,因此降低了大规模黑客攻击的风险。
 

币安功能和产品

期货和衍生品

币安期货允许您在不持有标的资产的情况下对加密货币的未来价格进行投机。它提供两种类型的合约:USD-M(以USDT或USDC作为保证金)和COIN-M(以加密货币作为保证金)。

USD-M 合约以 USDT 或 USDC 等稳定币结算,提供稳定的价值基础;而 COIN-M 合约以比特币或以太坊等加密货币本身结算,由于结算资产的波动性,增加了额外的风险和潜在回报。

币安支持永续合约和季度合约。永续合约没有到期日,允许您无限期持有仓位;而季度合约则有固定的到期日,例如每三个月到期一次。这为把握长期趋势或事件提供了机会。

以下是关于币安期货的一些关键见解:

  • 杠杆:它允许高达 125 倍的杠杆,使您能够用较小的资本投入进行更大的投资。
  • 多种订单类型:它支持多种订单类型,包括限价单、市价单、止损限价单、止损市价单、追踪止损单、仅发布单、限价止盈/止损单、市价止盈/止损单和 TWAP 订单。
  • 风险管理工具:币安提供止损单、止盈单和期货计算器等功能,以有效管理风险。

2026年币安评测:Binance安全合法吗?如何在币安上交易加密货币?

此外,币安还提供期权交易。这使您可以在不直接持有加密货币的情况下,对加密货币未来的价格走势进行投机。通过使用期权合约,您可以押注价格在特定时间段内是上涨(看涨期权)还是下跌(看跌期权)。币安提供欧式期权合约,这些合约只能在到期时行权。

保证金交易

币安提供杠杆交易功能,允许您借入资金来增加交易仓位,最高杠杆可达10倍。它同时提供交叉杠杆交易和独立杠杆交易。

以下是一些需要考虑的关键点:

  • 交叉保证金与隔离保证金:交叉保证金使用全部保证金余额来避免强制平仓,而隔离保证金将风险限制在分配给特定头寸的保证金范围内。
  • 杠杆:您可以使用 5 倍杠杆进行交易,从而提高潜在收益。
  • 借贷与还款:直接从币安借款,并按照规定的利率和条款进行还款。利率按小时计算。

跟单交易

币安跟单交易功能允许您复制经验丰富的交易员(称为领衔交易员)在现货和期货市场的交易策略。

它提供每位首席交易员的详细资料,包括业绩、盈亏、策略、风险承受能力和交易历史。这种透明度有助于您选择一位符合您投资目标和风险偏好的首席交易员。

当您复制交易员的交易策略时,您将获得高达10%的利润分成,这在您和主交易员之间建立了一种激励机制。此功能简化了新手用户的交易流程,并为经验丰富的交易员提供了潜在的被动收入来源。

2026年币安评测:Binance安全合法吗?如何在币安上交易加密货币?

币安交易机器人

币安提供多种加密货币交易机器人,可实现交易策略的自动化,包括网格交易机器人、套利机器人、再平衡机器人和 TWAP 机器人。以下是币安机器人的简要概述:

  • 网格交易机器人:在特定价格范围内,按预设时间间隔执行买卖指令,非常适合在波动剧烈的市场中获利。它支持现货和期货市场的网格交易。
  • 套利机器人:套利机器人利用不同市场或交易对之间的价格差异进行交易。它在一个市场低价买入,在另一个市场高价卖出,在价格缺口闭合前赚取利润。
  • 再平衡机器人:再平衡机器人会监控您的加密货币投资组合,并自动买卖资产以维持您期望的配置比例。这有助于您坚持长期投资策略,并通过保持投资组合平衡来管理风险。
  • TWAP(时间加权平均价格)机器人:它会将您的总订单拆分成更小的部分,并在您选择的时间段内持续买入。这样做的目的是使价格在该时间段内达到最高点和最低点之间的平均水平,从而降低价格波动对您整体购买价格的影响。

2026年币安评测:Binance安全合法吗?如何在币安上交易加密货币?

币安赚取服务

Binance Earn 提供一系列金融产品,旨在帮助您利用加密货币持有量创造被动收入。以下是产品概览:

  • 灵活储蓄:您可以随时提取资金,同时还能赚取加密货币利息。这兼顾了便利性和潜在收益。
  • 锁定储蓄:将您的加密货币锁定一段固定期限(通常为 7 天、14 天或 30 天),即可获得比灵活储蓄更高的利率。这旨在奖励那些愿意将加密货币锁定一段时间的用户。
  • 双重投资:同时投资两种加密货币(例如,BTC-USDT),并根据预设时间段内表现更佳的资产获得收益。这使您可以从价格的任何方向波动中获利。您可以选择看涨或看跌策略。
  • 矿池:参与币安矿池,贡献您的加密货币算力来验证权益证明(PoS)区块链上的交易,即可赚取奖励。这无需您拥有个人挖矿设备。
  • 加密货币贷款:使用您的加密货币作为抵押品,借入现金或稳定币。这无需出售您的加密货币即可获得流动性,让您在保留所有权的同时,利用加密货币进行其他投资。

2026年币安评测:Binance安全合法吗?如何在币安上交易加密货币?

币安P2P交易

币安P2P交易平台允许您通过担保服务直接与其他用户买卖加密货币。此外,P2P交易不收取任何费用。

第三方托管服务通过保管卖家的加密货币,直到买家确认付款,从而确保交易的安全性和公平性。这一流程降低了欺诈风险,使点对点交易成为获取或清算加密资产的安全可靠选择。

此外,币安 P2P 支持 100 多种法币和 800 多种本地支付方式,包括银行转账和 Google Pay、UPI、Banxa 等在线wallet,为全球交易者提供灵活性和便利性。

币安 Launchpad

币安 Launchpad旨在帮助有潜力的区块链项目筹集资金并获得市场认可。它为新的加密货币和代币提供启动平台,使它们能够接触到币安庞大的用户群体和资源。

它的运作方式如下:

  • 项目团队申请将其代币上线币安 Launchpad。
  • 币安审核申请,并选择具有强大潜力的项目。
  • 入选项目将经历多阶段的启动流程。
  • 币安用户可以通过质押 BNB 或 FDUSD 参与项目启动过程,并获得新项目的代币。

截至目前,币安Launchpad平台上已推出93个项目。该平台已成为新兴加密货币项目获得曝光和流动性的热门途径,同时也为用户提供了投资前景广阔的早期创业项目的机会。

 

杠杆代币

币安杠杆代币 (BLVT) 是一项有趣的实验,它无需直接使用杠杆交易即可提供加密货币的杠杆敞口。与借入资金来放大收益(和损失)的杠杆交易不同,BLVT 是一种衍生产品,旨在根据标的资产的价格走势提供放大的收益。

BLVT(杠杆杠杆工具)分为两种类型:牛市(上涨)和熊市(下跌)。牛市BLVT旨在标的加密货币价格上涨时放大收益,而熊市BLVT旨在从价格下跌中获利。杠杆比率并非固定不变,而是设定在一个范围内,例如1.25倍到4倍之间。

假设有一个名为 BTCUP 的杠杆交易工具,其目标是利用比特币价格的 3 倍杠杆。如果比特币价格上涨 5%,BTCUP 的理想目标是实现 15% 的收益(即标的价格波动幅度的 3 倍)。相反,一个名为 BTCDOWN 的杠杆交易工具,同样目标是利用 3 倍杠杆,如果比特币价格下跌 5%,其目标收益为 15%。

2026年币安评测:Binance安全合法吗?如何在币安上交易加密货币?

BNB 链

币安BNB链是一个强大的区块链,它融合了两条此前独立的链:币安链和币安智能链(BSC)。这种融合创建了一个强大的生态系统,专为支持去中心化应用程序(DApp)和智能合约而设计。

BNB Chain真正的优势在于它吸引开发者和用户的能力。原因如下:

  • DApp:BNB 链上已经构建了超过 538 个 DApp,这表明该链适合在人工智能、元宇宙、游戏等各个领域创建创新的去中心化应用程序。
  • 速度快、费用低:BNB 链上的交易以其惊人的速度和远低于其他主流区块链的费用而闻名。这使其成为开发者和用户都适用的高效且经济的加密货币交易所。
  • 奖励:持有者可以质押其 BNB 代币参与网络治理。这种质押过程不仅有助于维护区块链的安全,还能激励用户参与,从而进一步推动去中心化。

币安 NFT 市场

币安NFT交易平台已成为交易非同质化代币(NFT)的热门平台。与仅限于单一区块链的传统交易平台不同,它允许您跨多个区块链(包括热门的BNB链和以太坊)买卖和交易NFT。

该平台为创作者提供便捷的工具,方便他们铸造和销售 NFT,且铸造费用透明。这种便利性鼓励了更多艺术家和创作者参与到不断发展的 NFT 生态系统中,从而丰富了可供收藏家和交易者选择的 NFT 种类和数量。

2026年币安评测:Binance安全合法吗?如何在币安上交易加密货币?

币安支付

币安支付省去了加密货币交易的中间环节。想象一下,有一个系统可以让你发送、接收甚至使用加密货币,而且在全球任何地方都能使用,并且不收取任何费用。这就是币安支付的核心功能。

除了基本功能外,币安支付还拥有丰富的特性。您可以选择超过 200 种不同的加密货币进行交易,包括比特币和以太坊等主流加密货币。这种灵活性满足了拥有多种加密货币的用户的需求。交易本身不受国界限制,这意味着您可以不受任何限制地向全球任何人发送和接收加密货币。

企业也能从中受益。通过集成币安支付,商家可以开拓全新的客户群体:加密货币用户。这不仅丰富了他们的支付方式,还能吸引精通技术的消费群体。

币安wallet(Web3)

币安Web3wallet是其应用程序内的一个简单安全的工具。它可以帮助您轻松进入去中心化网络(也称为Web3),而无需像传统加密货币wallet那样繁琐的操作。

您无需担心保存助记词。它采用多方计算 (MPC) 技术,将您的私钥分成三部分,分别存储在不同的位置,例如您的设备和云存储。这样可以降低丢失私钥的风险,从而更好地保护您的资产安全。

这款加密wallet旨在让您完全掌控自己的资产。它是一款自托管wallet,这意味着只有您才能访问。如果您丢失了访问权限,币安无法帮您恢复,因此备份您的wallet并妥善保管您的恢复信息至关重要。

币安提供的加密货币

币安提供超过 500 种不同的加密货币,涵盖人工智能、元宇宙、现实世界资产 (RWA)、游戏、去中心化金融 (DeFi) 等多个领域。该交易所支持的一些主要加密货币包括:

  • 比特币(BTC)
  • 以太坊(ETH)
  • 币安币(BNB)
  • 卡尔达诺(ADA
  • 索拉纳(SOL
  • 波点 (DOT)
  • Chainlink(LINK)
  • 雪崩队(AVAX)
  • 柴犬(SHIB)
  • 多边形(MATIC)

该交易所还支持现货交易、永续合约和期货市场的 1300 多个交易对,其中包括 BTC/USDT、BTC/FDUSD、ETH/USDT、USDC/USDT、XRP/USDT 等。

支持的国家和受限的国家

币安面向包括澳大利亚、阿联酋、中国、新西兰、印度、南非、巴西和大多数欧洲国家在内的180个国家的加密货币交易者开放。这家全球交易所目前持有21个国家的监管牌照,并已根据越南、尼日利亚、新加坡等国的当地法律调整了其服务。

由于部分地区存在诉讼和监管方面的挑战,币安交易所(>点这里下载币安官方APP<)在包括美国、英国、加拿大、新加坡、日本、荷兰和尼日利亚在内的多个国家受到限制。不过,美国居民仍然可以使用Binance.US,该平台专为遵守美国法律法规而设计。

客户支持

为了解决用户的疑问和担忧,币安提供各种客户支持渠道,包括 24/7在线聊天、用于处理更复杂问题的支持工单系统、常见问题解答中心以及Twitter 和 Telegram 等社交媒体平台。

尽管币安提供多种客户支持渠道,但用户体验似乎参差不齐。在线聊天功能似乎是最受欢迎的选择,但等待时间和沟通效率可能不稳定。币安移动应用在Google Play商店和App Store上的评分均为4.6/5 。

交易经验

币安平台提供多种交易选项和资产。最基本的选项是“转换”,用户只需选择加密货币即可执行交易,无需查看图表、订单簿或支付手续费。

对于经验丰富的用户,币安提供“经典”交易平台。交易界面乍看之下可能有些复杂,但它会显示图表、订单簿(显示买卖订单)以及您的交易历史记录。不用担心,币安也提供教程和指南来帮助您轻松上手。

您可以设置不同的订单类型来控制交易的执行方式。“市价单”以当前市场价格买入或卖出,而“限价单”允许您指定愿意买入或卖出的价格。币安还提供适用于安卓和iOS设备的移动版本。币安应用程序提供用户友好的交易界面,包含实时图表和多种交易订单类型。

币安与其他加密货币交易所的比较

Bybit和 Coinbase 是Binance 的最佳替代方案。以下是简要对比:

特征币安BybitCoinbase
创立201720182012
最适合大交易者衍生品交易美国交易员
支持的加密货币500+1200+241+
交易产品现货、期货、保证金、复制、期权、机器人、P2P 和机器人现货、期货、保证金、期权、跟单、P2P 和机器人现货和期货(仅限合格的加密货币交易者)
最大杠杆125倍100倍10倍
交易费用0.1% 做市商和吃单者0.1% 做市商/吃货0.4% 做市商和 0.6% 吃单者
资金筹措方式银行转账、借记卡/信用卡、Google Pay、Apple Pay借记卡、信用卡、现金支付等 300 多种支付方式。ACH、SWIFT、SEPA 和电汇
PoR(溶剂)是的是的是的

如何在币安上交易加密货币?

币安官网注册:https://static.jbzj.com/qkl/ba/bafy.html(复制网址到浏览器打开)

币安安卓版APP下载:https://static.jbzj.com/qkl/ba/baxz.html

第一步:创建币安账户

通过上面的折扣链接,进入官网链接之后,就可以进行注册,点击【注册】。

如何注册币安账户?

币安支持我们使用【邮箱】或者【手机号码】进行注册。可以看到中国大陆的手机号也是可以进行注册的,它这里涵盖了中国+86的区号。

如何注册币安账户?_图2

我这里就以邮箱注册来进行演示。建议大家使用海外的邮箱,Outlook或者是Gmail都可以。当然国内的QQ邮箱或者163邮箱也是可以的。输入进邮箱之后,点击【继续】。

如何注册币安账户?_图3

这时候币安就会向我们的邮箱发送一封验证码,我们回到邮箱查看一下,然后把它输入进来。

如何注册币安账户?_图4

接下来就到了创建密码的页面,按照他的要求,8个字符以上、至少一个数字和至少一个大写字母。点击【继续】。

如何注册币安账户?_图5

这时候我们的币安账户就注册成功了,他会问我们“您是否有邀请人?”,这里我们一定要选择“有”,然后邀请ID这里我们就可以填写上A0Y8K980。使用这个邀请ID进行注册,就可以让我们在后续的交易中永久享受20%的手续费优惠。点击【下一步】。

注意了!这个邀请码只有注册的时候能填,有人注册时漏填邀请码,结果每次交易都要多花钱,后续是没法补上的,所以不要忽略这一步。

如何注册币安账户?_图6

接下来我们的币安账户就注册好了,我们就可以进行币安APP(>>>点这里下载币安官方APK安装包<<<)的下载。

步骤二:币安APP下载与安装(安卓/苹果解决方案)

1、安卓手机APP下载与安装

币安官网注册地址:https://static.jbzj.com/qkl/ba/bazc.html

币安官方APP下载:https://static.jbzj.com/qkl/ba/baxz.html

1、通过注册地址进来后,点击右上角的【三条杠】。

2026年币安评测:Binance安全合法吗?如何在币安上交易加密货币?

2、往下滑,找到【下载】。

2026年币安评测:Binance安全合法吗?如何在币安上交易加密货币?

3、直接点击【安卓下载】。

2026年币安评测:Binance安全合法吗?如何在币安上交易加密货币?

4、它可能会给我们安全提示,我们不用管它。

2026年币安评测:Binance安全合法吗?如何在币安上交易加密货币?

5、点击这个安装包。

2026年币安评测:Binance安全合法吗?如何在币安上交易加密货币?

6、下载好之后点击打开。

2026年币安评测:Binance安全合法吗?如何在币安上交易加密货币?

7、点击“允许本次安装”。

2026年币安评测:Binance安全合法吗?如何在币安上交易加密货币?

8、他可能提示我们这个是一个高危风险软件,我们不用管它,点击“可查看详情”,选择“仍然安装”。

2026年币安评测:Binance安全合法吗?如何在币安上交易加密货币?

2、苹果手机APP下载与安装

中国大陆地区并不支持币安APP在App Store下载,要想顺利下载币安App并完成账户注册,需要创建一个苹果的海外ID,台湾的Apple ID就可以,下面就来看下如何注册台湾ID的吧。

第一步:需要注册台湾Apple ID

1、先进入苹果Apple ID官网https://appleid.apple.com/#!&page=signin,然后选择“登录”!

2026年币安评测:Binance安全合法吗?如何在币安上交易加密货币?

2、输入你提前准备好了的国内的Apple ID,输入账号和密码,并登录!(不建议使用自己唯一的国内苹果ID,建议新注册一个国内ID。)

2026年币安评测:Binance安全合法吗?如何在币安上交易加密货币?

3、输入自己国内ID的正确密保问答的答案,然后点击“继续”!

2026年币安评测:Binance安全合法吗?如何在币安上交易加密货币?

4、选择“其它选择”,如果是用手机注册的用户,不要选择继续,一定要选择“其他选项”。

2026年币安评测:Binance安全合法吗?如何在币安上交易加密货币?

5、然后选择“不升级”。

2026年币安评测:Binance安全合法吗?如何在币安上交易加密货币?

6、登录上之后,在“个人信息”中点击“国家或地区”!

2026年币安评测:Binance安全合法吗?如何在币安上交易加密货币?

7、点击“更改国家或地区”。

2026年币安评测:Binance安全合法吗?如何在币安上交易加密货币?

8、在“国家或地区”中选择“台湾”。

下面“账单寄送地址”需要用到虚拟地址,咱们都是国人,所以只能通过在线生成虚拟地址等信息来解决身份问题。 shenfendaquan.com 或 meiguodizhi.com

2026年币安评测:Binance安全合法吗?如何在币安上交易加密货币?

9、打开上面的地址,输入下图的内容。更新就完成了。

2026年币安评测:Binance安全合法吗?如何在币安上交易加密货币?

第二步:Appstore登录台湾ID,并下载币安APP

9、有了中国台湾的apple ID之后,在你的Appstore里面点击右上角的小人头。滑到最下面点击【退出登录】。

2026年币安评测:Binance安全合法吗?如何在币安上交易加密货币?

10、然后在最上面这个apple ID登录的地方重新点击一下,选择不沿用老账号进行登录。

2026年币安评测:Binance安全合法吗?如何在币安上交易加密货币?

11、在这里输入一下你刚刚购买的台湾apple ID的账号和密码。

2026年币安评测:Binance安全合法吗?如何在币安上交易加密货币?

14、登录完成之后,直接搜索币安或binance 就可以找到app了。

2026年币安评测:Binance安全合法吗?如何在币安上交易加密货币?

15、下载这个币安的APP。

下载安装完成之后,打开币安APP,登录账号之后,它会让你完成实名认证,我们按照步骤完成身份认证即可。

步骤三:KYC身份验证

根据账户安全使用要求,币安实行不同等级的KYC(了解您的客户)认证,进行认证后会解锁更多的币安服务产品:

基础认证(必须完成):

1、我们在身份认证的时候,很多人会担心我是不是能选中国,我选中国会不会有什么风险呢?

这个大家不必担心,无论是居住国家还是证件签发国,这两个部分你都选择“中国”,中国的限制是最小的。我们再退一步说,哪怕你现在身处国外,你可能具体的居住地点是在阿根廷,但是你有中国大陆的身份证,那么你的居住地和证件签发国也都选择“中国”,中国的证件在认证加密货币交易所的时候是最好的。然后我们就可以选择使用身份证来进行认证。

你可能还会有担心,我用我的证件认证之后,会不户被币安把这个证件透露给其他人呢?

这个大家也不用担心,因为如果你用币安的账户去正常做交易是没有人管的,除非你用币安账号来做USDT搬砖,或者是洗钱,或者是提别人代买USDT这种高危的操作,那你一定会被揪出来。但是你只要是正常的炒币交易,那就没有问题。

2026年币安评测:Binance安全合法吗?如何在币安上交易加密货币?

2、我们在认证的时候还会让我们填一个具体的居住地址,这个具体的地址就填我们身份证上的地址就可以了。它可能是我老家村子里面的地址,那你就填老家村子里面的地址。只要和你身份证上的地址是一致的就可以了。

上传身份证或护照照片(以身份证为例):

2026年币安评测:Binance安全合法吗?如何在币安上交易加密货币?

3、进行人脸识别验证(自拍):

2026年币安评测:Binance安全合法吗?如何在币安上交易加密货币?

4、审核时间约 5-10分钟,完成了KYC身份认证之后,我们才能够去正常的买币和交易。

步骤四:安全设置

 币安双重认证(2FA)配置:启用身份验证器APP

1. 打开币安app(官方注册 官方下载)首页,点击左上角币安小图标。

2026年币安评测:Binance安全合法吗?如何在币安上交易加密货币?

2.然后点击用户后面的小箭头。

2026年币安评测:Binance安全合法吗?如何在币安上交易加密货币?

3.点击【账户安全】。

2026年币安评测:Binance安全合法吗?如何在币安上交易加密货币?

4.在账户安全里,点击【身份验证器App】

2026年币安评测:Binance安全合法吗?如何在币安上交易加密货币?

5. 确保您已经在手机上安装了 Binance Authenticator APP后,点击[启用]。

2026年币安评测:Binance安全合法吗?如何在币安上交易加密货币?

6. 然后您将在屏幕上看到一个 16 位密钥。请将此密钥保存在安全的地方。如果您丢失了设备,此密钥将允许您恢复您的 Binance Authenticator 帐户。

点击[复制]并转到Binance Authenticator应用程序。

2026年币安评测:Binance安全合法吗?如何在币安上交易加密货币?

7. 粘贴​​ 16 位密钥或手动输入,您可以在 [服务] 下为您的帐户创建自定义名称,这在将多个帐户添加到 Binance Authenticator 时非常有用。点击【继续】。

2026年币安评测:Binance安全合法吗?如何在币安上交易加密货币?

2026年币安评测:Binance安全合法吗?如何在币安上交易加密货币?

8. 然后会看到一个 6 位代码。

2026年币安评测:Binance安全合法吗?如何在币安上交易加密货币?

9. 返回币安APP,使用新启用的币安身份验证器验证您的设置请求。点击 [下一步],输入币安身份验证器中的 6 位数代码,然后点击 [提交]。

2026年币安评测:Binance安全合法吗?如何在币安上交易加密货币?

2026年币安评测:Binance安全合法吗?如何在币安上交易加密货币?

10. 启用Binance Authenticator后,您在登录账户、提取资金等时都需要输入验证码。

步骤五:存入资金

完成安全设置后,接着我们就可以往账户里添加资金了,下面为大家演示币安入金操作步骤详解:

打开币安APP(官方注册 官方下载)首页,这里的【添加资金】,选择【C2C交易】。

币安C2C买币

这里有快捷区、自选区、严选区还有大宗区,四个区域可以选择。大宗区、严选区和自选区他们三个是比较类似的。“大宗区”一般是针对于大额的交易。“严选区”是针对于我们的出金。

币安C2C买币_图2

我们入金就可以在快捷区或者是自选区里面去进行。我这里就演示一下快捷区,比如说我想购买1000人民币的USDT,点击【选择支付方式】。

币安C2C买币_图3

我这里选择【微信】,点击【预览订单】。

币安C2C买币_图4

你有30秒的时间考虑是否跟这个商家进行交易。确认跟他交易之后,我们可以点击【下单】。

币安C2C买币_图5

这个时候我们的订单就生成了,我们可以点击【聊天】这里,看一下商家有哪些要求。想要让我们的交易顺利进行,我们就必须按照商家的要求去做。比如说实名付款,发名字确认。确认没有问题之后我们就可以回到微信,根据这个商家提供的收款二维码的信息,去添加他的好友给他发红包付款。注意付款要截图存证,然后我们回到币安,点击【上传付款证明】。

币安C2C买币_图6

把我们的截图上传上来,再点击【我已付款】。然后商家那边收到钱之后就会给我们放币了。

币安C2C买币_图7

入金之后,我们的账户里面就有钱了。

我们来到【资产】,可以看到我们购买好的USDT它首先是在资金账户里面的,如果我们想要去购买其他的加密货币,就需要把我们资金账户里面的USDT划转到现货账户。

币安APP购买加密货币(BTC)

第六步:开始交易加密货币

我们点击【划转】。

币安APP购买加密货币(BTC)

从资金到现货账户,数量最大,点击【确认划转】。

币安APP购买加密货币(BTC)_图2

划转成功之后我们点击下方的【交易】,在“现货”交易的这个页面,左上角这里可以选择我们想要进行的交易对,比如说我想去购买比特币,那我就搜索“BTC”,然后选择“BTC/USDT”这个交易对。

币安APP购买加密货币(BTC)_图3

接下来在买入的界面,我们可以选择使用市价单或者是限价单。

币安APP购买加密货币(BTC)_图4

我这里就以市价单为例。市价单这里价格不需要我们自己去设置,是平台以当前市场最优惠的价格直接给我们成交的。我这里拉动购买数量,点击【买入BTC】。这样我们的比特币就购买成功了。

币安APP购买加密货币(BTC)_图5

这样我们的现货里面就有了我刚刚够买好的比特币。

币安APP购买加密货币(BTC)_图6

第七步:提现成人民币

点击首页上方的【添加资金】,选择【C2C交易】。

2026年币安评测:Binance安全合法吗?如何在币安上交易加密货币?

我们在上方可以看到有快捷区、自选区、还有严选区、后面还有大宗区,我们选择【严选区】。

2026年币安评测:Binance安全合法吗?如何在币安上交易加密货币?

还没有添加收款方式的朋友,可以点击右下角的【我的】,然后选择【收款方式】。

2026年币安评测:Binance安全合法吗?如何在币安上交易加密货币?

点击下方的【添加收款方式】。

2026年币安评测:Binance安全合法吗?如何在币安上交易加密货币?

在这里你可以选择银行卡、支付宝或者是微信。这里大家不管选择哪一个方式,最好都要用单独的账号来进行加密货币的买卖,这样能够隔离风险。这三种支付方式大家分别去上传一下账号和二维码。

2026年币安评测:Binance安全合法吗?如何在币安上交易加密货币?

添加完收款方式之后就可以筛选商家来进行出售交易了。在上方你可以选择要出售的币种,比如说USDT。然后输入一下你要出售的金额,比如说1000人民币,点击【确认】。

2026年币安评测:Binance安全合法吗?如何在币安上交易加密货币?

后面可以选择一下支付方式,支付方式就是我们的收款方式,比如说我勾选“支付宝”,点击【确认】。

2026年币安评测:Binance安全合法吗?如何在币安上交易加密货币?

我们不仅要找成单量和成交率高的商家来进行出售,还要找注册时间比较久,平均付款时间在3分钟以内的商家来进行出售。比如说下图这一家,他有一个5万多单的成交量,而且他的好评率有99.9%。

我们再来看一下这家的注册时间,可以看到这个账户已经创建有1078天了,代表这个账户已经创建大概至少有三年了。而且他近30天的成单数和成交率都比较高,平均放行时间在0.94分钟,平均付款时间在2.63分钟,这一家就是可以的,我们就可以跟这家来进行出售。在旁边点击【广告】。

2026年币安评测:Binance安全合法吗?如何在币安上交易加密货币?

比如说我们想要出售USDT就找到USDT的选项,然后点击这里的【卖出】。

2026年币安评测:Binance安全合法吗?如何在币安上交易加密货币?

输入一下我们要出售的数量,然后点击下方的【下单】。

2026年币安评测:Binance安全合法吗?如何在币安上交易加密货币?

之后我们就可以等待买家给我们打钱了。这个时候大家一定要注意,非商家本人KYC给你转账的一概要拒绝和他交易。比如他说他自己的账户限额,他用他老婆、亲戚或者是爸妈的账户给你转钱的一概要拒绝。

当我们收到买家已经完成付款的提醒之后,不要盲目去相信短信的提醒,一定要确认自己账户里面实际的资产变动,去确认一下自己真的收到钱了,再点击确认收款的按钮,这样我们才可以把USDT放行给买家。

总结:币安是适合您的交易所吗?

我们的评测指出,币安已成为全球领先的加密货币交易所。除了交易之外,它还提供多种服务,包括跟单交易、杠杆交易和期货合约。币安NFT、慈善项目和学院等功能也满足了广大用户的需求。

币安平台以其高交易量、极具竞争力的手续费和用户友好的界面而闻名。无论是新手还是经验丰富的交易者,都能通过币安平台获得被动收入或参与高级交易策略。无论您对交易、质押还是NFT感兴趣,币安都能为全球加密货币爱好者提供全面的平台。

币安交易所评测:常见问题解答

币安合法可靠吗?

币安是一家值得信赖的加密货币交易所,在全球180多个国家拥有超过2.5亿注册用户。该平台凭借强大的安全措施,例如双因素认证、数据加密和冷存储,保护用户资金安全,从而赢得了良好的声誉。

币安的提现限额是多少?

币安的提现限额取决于用户的验证级别。基本验证后,每日最高可提现 800 万美元,法币提现限额为 5 万美元。高级验证则提供更高的提现限额,具体限额取决于所在地区和监管要求。

在币安可以赚钱吗?

您可以通过币安交易加密货币、质押以及使用币安收益赚取利息。币安还为高级用户提供期货和期权交易。币安推荐计划也提供额外的赚钱机会。

币安比 Coinbase 好吗?

币安提供低交易手续费和更多加密货币选择,适合经验丰富的交易者。它更易于使用,因此也更适合新手用户。另一方面,Coinbase 的监管合规性更为严格,尤其是在美国。

美国公民可以使用币安平台吗?

币安为美国用户提供了一个独立的交易平台,名为 Binance.US。该平台符合美国监管规定,并提供有限的加密货币交易选择。但由于监管限制,美国居民无法使用币安主平台。Binance.US的功能相比主平台有所减少,但仍然提供丰富的交易选择。

菜鸟下载发布此文仅为传递信息,不代表菜鸟下载认同其观点或证实其描述。

展开

相关文章

更多>>

热门游戏

更多>>

手机扫描此二维码,

在手机上查看此页面

关于本站 下载帮助 版权声明 网站地图

版权投诉请发邮件到 cn486com#outlook.com (把#改成@),我们会尽快处理

Copyright © 2019-2020 菜鸟下载(www.cn486.com).All Reserved | 备案号:湘ICP备2023003002号-8

本站资源均收集整理于互联网,其著作权归原作者所有,如有侵犯你的版权,请来信告知,我们将及时下架删除相应资源